證明信息查詢
【功能介紹】
通過此功能,納稅人可查詢在一定時期內開具證明類情況。

【操作步驟】
進入山西省電子稅務局首頁,在我要查詢模塊,點擊證明信息查詢,支持查詢完稅證明類、對外支付證明類及出口退稅(免)稅證明類查詢。
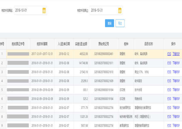
完稅證明類
【功能介紹】
通過此功能,納稅人可查詢在一定時期內繳款開具完稅證明情況。

【操作步驟】
進入首頁,在我要查詢模塊,點擊證明信息查詢,點擊完稅證明類,進入查詢頁面,支持打印、下載功能。
對外支付證明類
【功能介紹】
通過此功能,納稅人可查詢在一定時期內對外支付開具完稅證明情況。

【操作步驟】
進入首頁,在我要查詢模塊,點擊證明信息查詢,點擊對外支付證明類,進入查詢頁面。